本文对科里奥利流量计 (CMF) 的工作原理进行了详细地分析。从基本结构、测量原理到公式推导得到了影响流量计流量的相关物理量的理论公式。力求全面地介绍科里奥利流量计 (CMF) 工作原理。
如果做直线运动的流体也在做旋转运动,那么在这个系统中就会有一个与质量流量成正比的力 ( 科里奥利力 ),根据这个原理制成的流量计就叫做科里奥利流量计(CMF),它是直接式质量流量仪表。
1970 年第一台科里奥利质量流量计应用于工业中 ,之后在不断的技术升级和改进中 ,这种的质量流量计成为市场的主体,1984 年“U”型振动管式的科里奥利流量计投入市场。目前 ,科里奥利质量流量计一直在国内外工业中发挥着重要的作用。
1 .CMF 基本结构
CMF 一般由流量传感器和流量变送器组成。
1.1 流量计测量管的结构
1)按流量计测量管数量划分 ,有连续管流量计、双管流量计和单管流量计 3 种结构。
2)按流量计测量管形状划分,有弯管流量计和直管流量计 2 大类。
但不论流量计测量管的数量和形状是多是少,是直是弯 ,流量计都是根据科里奥利原理测量流体质量的。
1.2 流量计变送器
流量计变送器是向传感器提供驱动力,以微处理为核心的电子系统,它将传感器信号转化为质量流量信号及温度、压力等多种信号输出,使得流量计成为一种特别优秀的能准确计量流体质量的计量仪表。
2 .CMF 测量原理
2.1 Coriolis 效应
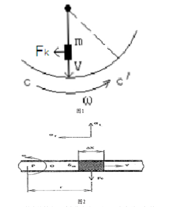
在我们生活中,我们会看到这样的现象,在地球表面上做自由运动的物体看似弯曲运行,如飞机的飞行等,这种现象就叫做 Coriolis 效应。这是因为在一个转动系中当物体相对于该参照系而做平移运动时 ,它受向心力作用的同时 ,还有另外一个力作用在该物体上,我们把这个力称为 Coriolis 力。如图 1 所示 ,质量为 m 的一个物体以速度 V 沿半径作匀速直线运动时 ,力 FK 作用于该物体上 ,这个力的方向垂直于圆周运动的半径 ,FK=2V·ωm,因此 FK 收物体运动速度 V 和转动的角速度 ω 影响。

虽然在旋转参照系中作直线运动可以产生科里奥利力,但这在生产中非常不方便 ,所以我们用其他方式来得到科里奥利力。研究发现两端固定的薄壁震荡管道 ,在中点处以谐振或接近谐振的频率激励 ,在管道内流动的流体便会产生科里奥利力。科里奥利力使测量管中点前后两半段产生方向相反的挠曲 ,可以用光学或电磁学方法检测挠曲量 ,然后通过公式计算便可以求得流体质量。测量管中流体的密度会影响测量管的振动频率,但可以通过频率与密度的关系式,通过频率求得流体密度,因此科里奥利力流量计在测量流体质量的同时还可以测量流体密度。
我们设质量为 m 的质点以速度 V 移动 ,同时质点相对 p 轴作角速度 ω 的旋转运动,质点受沿着旋转的法线方向的力 Fr=ω2r·△ m ;沿着切线方向的反作用力,即 Coriolis 力 :Fc=2ωV·△ m
上式说明,当旋转角速度不变时 ,力 Fc 的大小与质点的流速 V 成正比,即求得测量管中流体所受 Fc 的大小就可以求得流体质量△ m,科里奥利力流量计就是根据此工作原理设计的。
2.2 CMF 测量原理
我们以 U 型振动管为例,对科里奥利力流量计的工作进行分析 :U 型振动管振幅约为 1mm,震动频率通常为 80Hz。图 2 为振动中的测量管 ,流体在测量管内受垂直方向的动量,在测量管向上振动的半周期时,流体向下压 ,平衡测量管向上的力;在管子向下振动的半周期时 ,流出测量管的流体向上压 ,抗拒管子向下的力。图 3 显示当流体经过测量管时 ,如果质量大小为 m,速度大小为 V,以相对 O— O 轴线的角速度为 ω 旋转流动,


可以看出 qm 与△ t 成正比 ,与 r2 反比 ,qm 与角速度 ω 无关 ,与测量管的振动频率无关。通过用电磁感应器可以测量偏转角 θ,感应器设定测量时间间隔 △ t,当测量管中无流体流动时角 θ 为零 ,而当流体流量增加时 θ 也随之增加,即时间间隔△ t 也增加。
3.结论
因为科里奥利质量流量计是直接测量质量流量 ,具有非常明显的优点 :1)科里奥利流量计测量流体范围广、测量精确度高 ;2)科里奥利流量计的测量管的振动幅度小,且测量管内没有活动件、阻碍件 ,流量计可以看作固定件;3)科里奥利流量计测量时对所测流体粘度要求不高,对所测流体密度也要求不高。同时测量时可以做到多参数测量 ,如测量密度的同时,测量溶液中溶质的质量分数。
具有优点的同时 ,科里奥利流量计也同样存在诸多不足。首先,因为零点不稳定的原因存在零点漂移现象,使其精确度的提高增加难度 ;其次,科里奥利流量计在测量低压气体和低密度流体时,会受到流体中空气含量限制影响测量值 ;再次,科里奥利流量计利用震荡管测量流量。因此,外界振动会对测量测产生干扰 ,因此有较高的安装要求,以此消除管道振动影响。