标准EN 50440里面对于流量计的安装位置有其明确的要求,但实际使用过程中却发现,流量计安装 位置的不同会对实验结果造成不同的影响。本文就此问题的现象,结合实际产品的生产工艺流程及原理,对 此标准里规定的安装位置进行探析,得出此标准里规定的位置并不能满足所有类型的热水器产品的结论,从 而对实际试验方法进行改善。
1.标准里面对于试验设备的安装要求
随着我国热栗企业的不断发展,越来越多的热栗企 业都开始将产品销往欧洲,热栗产品在进入欧洲市场之 前,都需要专业的检测机构对样品进行测试,比如莱茵 等检测机构。而检测机构的设备严格受相关监管部门的 监督,所以,诸多检测机构都必须严格按照标准里面规 定的方法,对送检的热栗样品进行检测。近几年,诸多 热栗企业都开始针对欧盟标准建造自己的检测实验室, 以便在出口之前对自己产品的性能做一个初步的掌控。 实验室检测过程中,也会在使用上产生诸多的问题,本 文就EN 50440标准为例,对于其要求的流量计安装方法 的合理性进行探析。
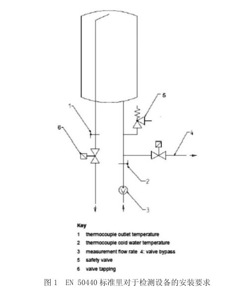
EN 50440标准主要针对储水式热水器进行能效检 测,标准里对于系统的安装方法有明确规定,如图1。

此标准的试验流程在于模拟普通家庭在使用储水式 热水器的时候,日常用水的过程,以此为基础,计算出热水器的能效,作为一个给热水器划分等级的评判依据。
按照此图示中所表示出的流程,测试过程中,进出 口控制阀开启后,冷水通过入口管进入流量计,通过测 温元件,然后进入水罐,由于水的不可压缩特性,会由 出水口排出同等体积的热水,通过检测进口水温、出口 水温,结合流量计测量出的水量,计算出每次放水的放 水能量,从而在整个过程中多次的重复流程,最终计算 出热水器的能效。
2.试验结果及分析
笔者在刚接触到此类试验的时候,关于实验系统安 装,都会按照标准要求的流程及先后顺序进行安装。尽 管设备安装都全部按照了标准要求的方法来安装,试验 流程也是全部按照标准要求的流程来做,但测试结果还 是会存在较大的偏差,测试结果低于标称。经过分析, 笔者认为,原因在于流量计安装位置不符合实际产品试 验需求。
理论上讲,流量计安装在水罐之前,可以保证所有 的进入到水罐里的水量都被检测到(图1中标号4的旁 通阀会在测试过程中关闭,所以不会有水从此处流走), 在一定程度上的确会保证实验测试的准确性;但是,由 于目前热水器企业的制造工艺,不可能将水罐里的空气 全部排干净,而一旦水罐里存在未排干净的空气,则流 量计安装在水罐前端就会造成很大的试验误差,下面将 以具体实验曲线为例来进行解释。
由图2中可以看出,将流量计安装在水罐的前端或 者后端,两者最大的区别在于,如果将流量计安装在前端, 测量出的流速基本瞬间到达设定流量,然后平稳以设定 流量排出,而如果将流量计安装于水罐之后,测量出的 流速在达到设定流速之后,会有一段时间(即V1)远高 于控制流速(即V2)。按照试验原理,只要水罐进口以 设定流速v2将冷水进入水罐,水罐出口就应该以同样的 流速释放出热水。在此,理论与实际产生了不符合的现场。 笔者从此现象推断,在出口阀门开启的一瞬间,会有部 分水会受到其他的动力,导致出水会以更髙的速度冲出水罐之外。
我们先来看目前常规生产工艺下的热水器水罐形式, 如图3。

从图3上可以看出,由于很多家庭不具备足够的高 度空间,为了方便用户的安装及日常使用,通常热水器 水罐的进出口管都安装在侧面。出口管会由一条管延伸 到水罐的最上端,用来保证充分利用热水器水罐的空间 (热水器水罐顶部做成圆球状也是处于此功能的需要), 而目前常规生产工艺下,延伸管虽然巳经尽量接近于水 罐的顶端,但肯定还是会与水罐顶部产生一定的距离, 从而留下部分空间,而这部分空间就会在试验过程中一 直由空气占据。
根据EN 50440的试验流程,整个过程中会在规定的 时间点进行多次的放水,而放水之外的时间,进口控制 阀及出口控制阀是出于关闭状态的。随着每次放水的进 行,冷水不断进入,热水不断排出,造成水罐内部水温 会逐渐的降低,待水温低于热水器水罐内部设定的启动温度,加热器就会开启。如果加热器开始工作的时候, 热水器处于密闭状态(即进口控制阀、出口控制阀及旁 通阀都处于关闭状态),那么随着水温的升高,残余在 热水器水罐顶部的空气温度也会随之升高。由于液态水 的不可压缩特性,储存空气的体积基本不会发生改变(严 格来说是有轻微改变,因为水温升高后,水密度会有稍 微的变化,那么水的体积也会有较小的变化),根据理 想气体状态方程,我们可以清楚的推断出,随着密闭空 间里的空气温度不断升高,残留空气所带来的压力也会 越来越大(根据实际试验所得出的结果,在不触发泄压 装置的情况下,此压力最大可以达到7 MPa)。多次测 试结果证实,此压力即是造成每次放水流程开始时,水 罐内部的水以高速冲出的主要原因。
由于此部分压力的存在,每次放水流程中,我们定 义进口控制阀和出口控制阀开启后,气体膨胀后所形成 的高温气体体积为VI;由于冷水的不断进人和热水的 不断排出,热水器水罐内部水温降低,水温降低所引起 的气体温度降低之后,气体体积改变为V2。很明显, V1>V2,这就造成了放出的水量不再等同于进人的水量, 虽然此部分水量很小,但多次流程下来,累计的差异就 会变大。
基于以上所分析的结果,如果将流量计放置于热水 器水罐进水端的情况下,是无法检测到此部分水量的, 试验误差由此而来。而如果将流量计放置于热水器水罐 的出水端,则可以保证所有排出水罐的水都会被检测到, 虽然与EN 50440标准要求有所不同,但有效的避免了测 试误差。实际实验结果也很好的验证了此分析结果。
3.其他实验标准里关于类似试验的规定及分析
关于模拟家庭日常使用放水的测试标准还有很多, 但大多都没有明确规定设备摆放的相对位置,所以在进 行这些标准的实验的时候,就会宽松很多。但我们可以 在很多标准里面找到一些方法来支撑我们的结论。
美国 DOE 标准里 Appendix E to Subpart B of Part 430-Uniform Test Method of Measuring the Energy Consump-tion of Water Heaters是美国关于储水式热栗实验要求的 测试标准,它的实验原理与EN 50440基本一致,所以我 们可以借鉴它关于测试的相关规定。在此标准里面5.3.3 First-hour Rating Test—段,有如此介绍:“Collect the water in a container that is large enough to hold the volume removed during an individual draw” ,即用一、个足够大容积 的容器收集所有排水过程中排出的水。其作用在于放水 结束之后会对容器收集到的水量进行测量,从而在最后 计算的时候用此部分水量来计算得出相关的数据;而我 们将流量计安装在水罐的出水口,也正是起到同样的作 用,即将所有从水罐中排出的水全部经过流量计测量, 在计算的时候采用这部分的测量结果,会使整个试验结 果更加准确。
4.结束语
总结来说,本文的写作目的并不是为了说明EN 50440中对于流量计安装位置的要求是错误的,如果能 够保证水罐内部没有残存的空气(比如直立性水罐,将 出水口安装在水罐的顶端),那么,无论流量计安装在 前端还是安装在后端是没有区别的。但是,由于目前的 生产工艺限制,很多类型的水罐是无法将空气完全排干 净的。
基于以上原因,笔者认为,由于实验设备应该能够 满足普遍产品的测试需要,所以在现阶段,流量计安装 在水罐的出口端,才更能够保证试验的准确性。